Moay ơ là bộ phận liên kết giữa bánh xe với cầu của xe nâng, chúng có nhiệm vụ dẫn hướng, chịu tải và chuyển động ....
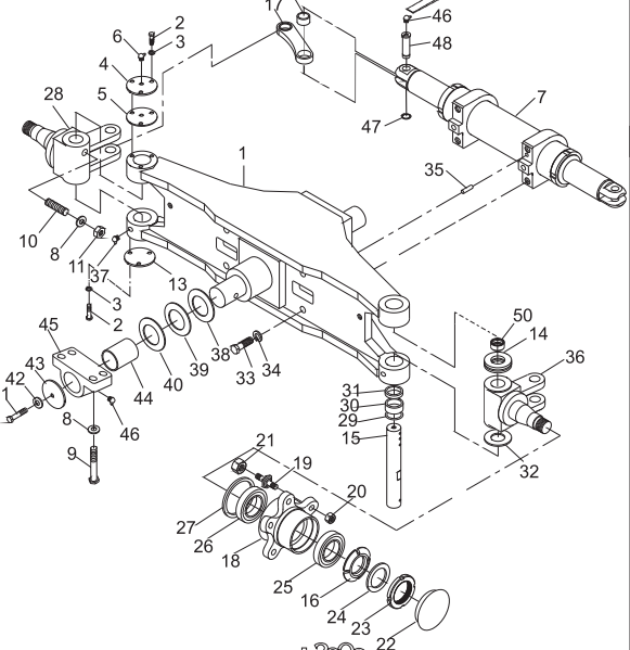
Dưới đây là sơ đồ lắp ghép của Moay ơ bánh sau xe nâng HELI 7 tấn

- Moay ơ trên hình vẽ là chi tiết số 18, được lắp ghép với ngõng trục lái số 36, liên kết bằng các vòng bi số 25, 26, ngoài ra còn có phớt chắn bụi và chắn mỡ số 27. Moay ơ được siết chặt với ngõng lái bới 2 ecu số 16 và 23, ngoài ra còn có các căn số 24, và nắp bịt số 22.
- Do Moay ơ làm việc cường độ cao, vừa chịu tải trọng của xe nâng vừa phải di chuyển, nên vật liệu chế tạo khá đặc biệt. Các vòng bi côn lắp moay ơ cũng là những vật liệu chịu tải trọng tốt, sở dĩ phải lắp bi côn vì tránh lực dọc trục và có độ siết chặt hơn bi trụ.
- Động cơ: ISUZU C240
- Xuất xứ: Nhật Bản
- Công suất: 35,4 (kW)
- Tải trọng nâng: 3 tấn - 3,5 tấn
- Liên hệ: 0919721217
- Động cơ điện: AC 11,5 (kW)
- Bo mạch: CURTIS ( Mỹ)
- ắc quy: 48V/600Ah
- Kiểu điều khiển: Ngồi lái
- Tải trọng nâng: 1 - 2 tấn
- Chiều cao nâng: 3m - 6m
- Động cơ: Xinchai C490BPG
- Công suất: 40 (kW)
- Nhiên liệu: Diesel
- Hộp số: Cơ khí (Sàn) - Thủy lực( tự động)
- Tải trọng nâng: 3- 3,5 T
- Chiều cao nâng: 3m - 6m
- Model: CPCD50-100
- Động cơ: ISUZU 6BG1
- Công suất: 82 (kW)
- Hộp số: Tự động (Điện- Thủy Lực)
- Tải trọng nâng: 5000-10000 (kg)
- Chiều cao nâng: 3000(mm) - 6000(mm)
- Động cơ điện: 4,5 (kW)
- ắc quy: 48V/320Ah
- Kiểu điều khiển: Đứng lái
- Bánh xe: Nhựa PU
- Tải trọng nâng: 1.5 tấn
- Chiều cao nâng: 3m - 6m
0919721217